QM-9101電力監控系統是根據電力系統自動化及無人值守的要求,針對35kV及以下電壓等級研發出的一套分層分布式變配電房監控管理系統。該系統是應用電力自動化技術、計算機技術和信息傳輸技術,集保護、監測、控制、通信等多功能于一體的開放式、網絡化、單元化、組態化的系統,適用于35kV及以下電壓等級的變配電房,可實現對變電站全方位的控制和管理,滿足變配電房無人或少人值守的需求,為變配電房安全、穩定、經濟運行提供了堅實的保障。
系統支持跨平臺(Linux、Windows)運行,支持國產操作系統,采用了包括微服務架構、分布式存儲技術、流程圖模型等行業先進數據處理技術,大大提高系統可靠性、高效性、智能性。系統平臺完全自主研發,采用全采集、全接入、全兼容,最終實現變配電站(室)功能的綜合化、操作監視的可視化和運行管理的智能化。

A、綜合看板
綜合看板是監控軟件對用戶展示的窗口和集中控制中心,通過綜合看板可整體了解電力監控軟件的運行情況。包涵:實時數據、當前數據、用能監測、報警事件等。

B、實時監測
全盟電力QM-9101電力監控系統人機界面友好,能夠以配電一次圖的形式直觀顯示配電線路的運行狀態,實時監測各回路電壓、電流、功率、功率因數等電參數信息,動態監視各配電回路斷路器、隔離開關、地刀等合、分閘狀態及有關故障、告警等信號。

C、數據報表
查詢各回路或設備指定時間的運行參數,報表中顯示電參量信息應包括:各相電流、三相電壓、總功率因數、總有功功率、總無功功率、正向有功電能等。

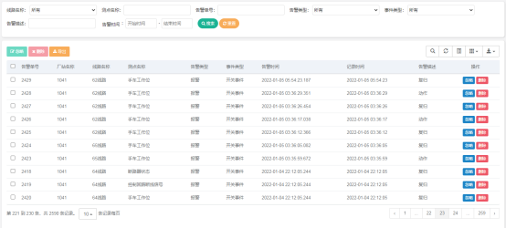
D、實時告警
全盟電力QM-9101電力監控系統具有實時報警功能,系統能夠對配電回路斷路器、隔離開關、接地刀分、合動作等遙信變位,保護動作、事故跳閘等事件發出告警。系統還具有實時語音報警功能,能夠對所有事件發出語音告警。

E、能耗分析報表
全盟電力QM-9101電力監控系統以豐富的報表體支撐量體系的完整性。系統具備定時抄表匯總統計功能,用戶可以自由查詢自系統正常運行以來任意時間段內各配電節點的用電情況,即該節點進線用電量與各分支回路消耗電量的統計分析報表。

F、用戶權限管理
全盟電力QM-9101電力監控系統為保障系統安全穩定運行,設置了用戶權限管理功能。通過用戶權限管理能夠防止未經授權的操作(如遙控的操作,數據庫修改等)。可以定義不同級別用戶的登錄名、密碼及操作權限,為系統運行、維護、管理提供可靠的安全保障。
G、電能質量監測
全盟電力QM-9101電力監控系統可以對整個配電系統范圍內的電能質量和電能可靠性狀況進行持續性的監測。例如配電系統維護人員可以通過諧波分析界面掌握配電系統的諧波含量,及時采取相應的措施提高配電系統的可靠性,減少因諧波造成的供電事故的發生。

常規模式:對應項目自建本地平臺
用戶一次性買斷本地后臺軟件使用權,全盟電力負責將平臺安裝部署到項目現場,用戶自行保管,日常運維維護工作由用戶負責,全盟電力負責培訓用戶運維人員,對平臺軟件承諾維護調試。項目調試根據合作模式可由我司負責。